發布日期:2019-03-27
VNA巷道平整度檢測標準
VNA巷道平整度檢測標準
發布日期:2018-06-12 00:00
VNA巷道平整度檢測標準
首先說,VNA巷道的檢測方法主要為英標TR34,目前國內真正適用TR34進行檢測的項目比較少,主要還是美標的標準適用比較多。
近些年,國內會有一些廠家或是承包商將美國FF/FL(ASTM E1155M)標準錯誤地用在VNA窄巷道地坪的案例。事實上,在美國ASTM E1155M文件中明文規定:“此檢測方法不能用于規定定向軌跡行駛設備地坪的平整度及水平度(例如倉儲中的窄巷道)。”
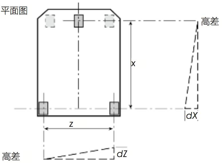
在ASTM E1155M文件中,FF/FL標準適用于檢測自由通行地坪的平整度及水平度,并不適用于定向通行地坪。事實上,真正影響到VNA叉車運行的是叉車車輪軌跡處的地坪高差及高差變化情況,而FF/FL值無法反映此類特征值,因此對VNA窄巷道地坪采用FF/FL標準是既不合理又不被認可的。倘若將此標準錯誤地放入VNA窄巷道地坪建設合約中,則不僅難以反映出地坪實際需求,而且會置合同某一方或雙方于較為被動的局面。
英國 TR34 2003版
近些年,行業中容易聽到一些概念詞,如“超平地坪”、“一類地坪”或“二類地坪”。需指出,這些概念詞是源于英國混凝土協會技術報告TR-34第三版(2003年)中關于定向通行地坪的平整度分級。TR-34第三版將VNA窄巷道地坪的平整度根據貨架高度的不同劃分為以上三個等級。

隨著行業逐步發展,英國混凝土協會技術報告TR-34于2013年正式升級為第四版,同時一個新的關于定向通行的平整度標準被引入,它也是歐盟標準EN15620,并在全球被廣泛采用。
同樣是基于貨架的高度,地坪等級被劃分為3類,即DM1(貨架高于13米)、DM2(貨架為8米-13米)和DM3(貨架低于8米)。此標準的檢測會使用到數字曲線儀Face Profileograph對地坪進行定向連續測量。其檢測方法可通俗地理解為:用一臺自行的輪式“機器人”,根據某指定叉車的實際輪距要求,模擬叉車在全巷道中的實際行走狀況,記錄下全巷道各個車輪處的數據變化關系。




美標ACI Fmin地坪標準:

備注:部分資料選自《物流技術與應用》雜志2017第4期
分享到:

